Kicad文档
https://docs.kicad.org/5.1/en/eeschema/eeschema.pdf
https://docs.kicad.org/5.1/en/pcbnew/pcbnew.pdf
KicadGUI

KiCAD问题
- 原理图及PCB注释不支持中文显示
- 在原理图和PCB之间交互布线时,只能在原理图中选中一个元器件在PCB中显示
- 在PCB文件中,不支持同时选择选择多个元器件并修改其属性,只能一个一个元器件的修改
-
不同厂家得Kicad元器件库,有不同的字段名,不统一,不方便处理,
Digi-key的封装库字段名称:

立创商城的封装库字段名称:
Kicad元器件的属性,默认的必须有 Reference, Value, Footprint, Datasheet,四个基本属性,其他的属性可以自己根据需要修改或者添加
当在PCB中元器件被锁定(locked),如果在原理图中删除并更新了这个元器件,则在PCB中无法更新成功(既无法删除之前的元器件),此时需要在PCB中解除对应元器件的锁定,选定元器件后,使用快捷键L解除锁定,然后再更更新PCB即可。
KiCad里Pcbnew中各层的用途说明
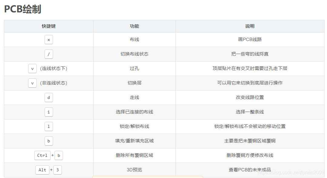
KiCAD的一些快捷操作
原理图库和封装库转化为KiCad对应的库文件
KiCAD差分布线方法
关于KiCAD导入dxf文件时,图形比例和实际不符的问题。
KiCAD默认导入dxf文件的单位是mm,因此必须设置dxf文件的缩放单位为mm

Kicad 原理图之间的复制
Kicad V5版本 不能像其他的cad软件一样,在打开的原理图之间相互复制内容。原因是Kicad复制时,使用的不是系统的粘贴板,导致无法在两个原理图之间复制内容。目前暂时的解决办法有两个:
一、使用原理图的Hierarchical Sheet(分层图)和Append Schematic Sheet Content(添加原理图内容),在主图和子图之间复制内容。
1.在当前原理图中创建Hierarchical Sheet(分层图)
2、进入分层图
3、使用Append Schematic Sheet Content(添加原理图内容),导入需要拷贝的原理图

4、选择要复制的内容,并复制 Ctr+C,然后返回到主原理图
5、在主原理图中,使用Ctr+V 粘贴,就可以将需要的内容复制到主原理图
二、使用Kicad的Eechema程序,打开需要复制的原理图,复制内容后,再打开需要粘贴的原理图,进行粘贴即可
1、使用Kicad的Eechema程序,打开需要复制的原理图,复制需要的内容
2、再File-Open,打开需要粘贴内容的原理图,然后直接粘贴即可
Kicad 3D Viewer 单击鼠标滚轮,设置3D视图的中心点(3D视图旋转的中心点),按住鼠标滚轮可拖动3D视图
KiCad Mark 点名称
Mark 点的用处是给 IC 等高密度的元件在贴片时定位参考
如何给元件给元件的管脚加上划线?
在一线元件需要注明一些引脚是低电位使能的。
比如这样。
每款 EDA 软件有不同的做法,有的是在前后使用 /,有的是给每个字母加上 /。
KiCad 不一样,使用的是 ~,在键盘的左上角。
如下图所示加上就可以显示上划线。
不要使用Add layer alignment target 功能,会导致有些插件无法生成gerber文件,Add layer alignment target 没有啥实际作用
Kicad 快捷键
PCB New

R:旋转对应的元器件
Alt+3 :3D视图
Alt+6 :差分走线
~:高亮网络,将鼠标放在对应的网络上,按波浪线,可高亮显示对应的网络
Ctrl+H:高亮显示层
Ctrl+Shift+z:放置铺铜网络
W:切换到下一个走线宽度
Shift+W:切换到上一个走线宽度
Ctrl+Shift+V:放置过孔Via
Ctrl+Shift+Z:放置铺铜区域 Filled Zone
Ctrl+Shift+K:放置禁止走线铺铜区域 Keepout Area
删除PCB所有走线

PCB导出step文件
在tolerance中选择Very loose,如果选择Standard,有些元器件有问题
FreeRouting
https://github.com/freerouting/freerouting/
注意事项
1、kicad的PCB文件的路径,必须是纯ASCII(不能有中文或者希腊字母等)
2、元器件的Value一栏,必须是纯ASCII(不能有中文或者希腊字母等)
使用步骤
1、将PCB文件导出为dsn文件

2、打开FreeRouter软件,导入生成的dsn文件,选择Autorouter,开始自动布线
2、布线完成后,会生成.ses文件,在kicad中导入该文件即可
kicad 原理图中元器件的封装不在PCB显示
kicad 原理图中,如果元器件的Reference的值是以#开始的,则表示该元器间是
不可制造的
,不会导入到PCB中
例如:原理图中,Symbol的Reference都是以#开始的,表示不会导入到PCB,即使给Symbol指定封装,也不会在PCB中显示。
想要在PCB中显示,必须去掉Reference中的#
