一、MII,RMII,SMII,GMII,RGMII,SGMII接口定义一览表
1.1 MII接口连接示意图
1.2 RMII接口连接示意图
1.3 SMII接口连接示意图
1.4 GMII接口连接示意图
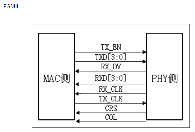
1.5 RGMII接口连接示意图
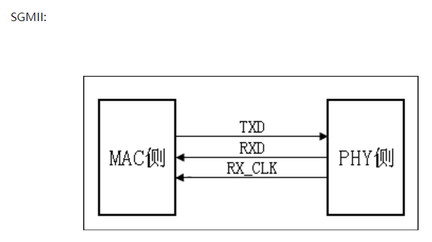
1.6 SGMII接口连接示意图
1.7 XGMII接口连接示意图
二、 MDIO接口定义
MDIO接口,是Management Data Input/Output的缩写。MDIO接口包含在IEEE802.3协议中,是专用于以太PHY的管理的串行总线接口。
2.1、 MDIO接口连接示意图

上图为MDIO应用框图。STA设备通过MDIO接口与PHY通信。STA(StaTIon Management)为主控设备,比如MCU、MAC等。PHY为从设备。一个STA最多管理32个PHY。MDC信号由STA控制,MDIO信号根据通信方式的不同可以由STA或者PHY接管控制。通常MDIO会通过电阻上拉至接口电源。
版权声明:本文为qq_21794157原创文章,遵循 CC 4.0 BY-SA 版权协议,转载请附上原文出处链接和本声明。