参完赛的论文,未在其他平台发布,需要自取~
内含电路流程,程序,动物饮食习惯研究等数据…
可监测体重自动调节投食量的智能喂猫机
摘要:近些年来,宠物猫的肥胖(超重)问题日趋严重,宠物猫肥胖不仅会影响其外观和动物福利,而且额外的重量和多余的脂肪还会导致许多健康风险,甚至缩短宠物的寿命。另,近年来家庭宠物猫饲养逐步趋于精细化,猫奴们对于猫咪饮食习惯与其体重的关联也愈发重视。而这种观念的转变,体现在猫奴们的关注点已不仅仅是猫咪是否软润可爱,而更多的放到了猫咪的健康上。研究表明,不规律喂食将导致投喂量难以掌控,还可能打乱猫的消化吸收;而定时喂食可使猫胃液分泌和胃肠蠕动更有规律,加强饥饿感,对采食和消化吸收大有益处,更有其利于生长发育。经过调研,发现目前涉及智能控制的机器售价普遍较高,故我拟摒弃市场上喂猫机华而不实的功能,主攻定时定量投喂功能,并可根据猫咪体重智能调节喂食量,以期帮助用户改善爱猫的健康状况。
关键词:智能调节喂食量;监测体重;Arduino单片机
一、项目背景
最近我发现越来越多的人们开始养起了宠物。通过查资料,我了解到直至2019年,已有7355多万人,但大多数扔却因为现在生活节奏的加快,喂宠物时十分匆忙,甚至没有时间去喂自己的宠物。于是,自动喂宠物机成了大家的首选。但大多数市面上的自动喂宠物机都有卡粮、出粮不准等问题,而且不考虑宠物的体重,很有可能导致宠物过度肥胖,严重影响了宠物的健康。那如何改善这一现象哪?于是,经过不断的思索,我就想到了改变传统自动喂宠物机的结构防止卡粮;在自动喂宠物机食盆前加上秤,根据猫的体重改变出粮量。让养宠物的人更加省心、放心。
二、方案设计
(一) 问题解决
- 卡粮问题可否用加大出粮舵机的功率来解决?显然不行,应为有些硬度高的宠物粮食会卡死舵机。于是我想到了一种新的方案:可以借鉴谷物机的出料结构,将其改造为“水车型”竖向活页结构,配合mg945舵机和Arduino主板,可以有效解决卡粮问题。
-
宠物的体重检测调节可以通过在食盆前加上yzc-133称重传感器,连接到hx-711模块,将数据传输至Arduino主板,并实时显示在OLED液晶瓶上,与猫正常体重的数据库进行对比,从而通过Arduino主板对出粮mg945舵机的转动圈数,从而调节出粮量,控制宠物的体重,使宠物变的更加健康,使使用者更放心。

电路流程图
(二) 结构部分
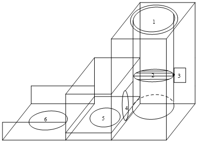
整体分为三个部分:重量感应器、食盆与主机,部分可分离。重量感应器内包含yzc-133称重传感器和OLED液晶屏,通过连杆连接至主机。食盆可单独拆卸。主机内包含“水车型”竖向活页出粮结构防卡粮和Arduino主板、舵机等。主机两侧延伸出挡板,置于食盆上侧(与食盆边贴合),防止猫从食盆侧面进食而不站在重量感应器上进食(如图1所示)。
图1 喂猫机原理图
①储粮器 ②卡粮轮 ③卡粮数码舵机 ④出粮口 ⑤食盆 ⑥重量感应器
(三) 编程部分
程序通过Arduino主板配合板独立程序(类Java语言)编写,先用yzc-133称重传感器对宠物进行称重,在把称重数据保存为变量“重量”(每次称重时更新),再通过于正常体重的对比运算得出新变量“加\减量”,并让mg945舵机旋转原定值减去“加\减量”次,完成根据宠物体重出粮,后延时8小时,循环等待下一次的称重出粮。根据以上逻辑关系,在编程之前我先画了一个程序流程图(如图2所示),本项目完整的程序见附页。

图2 程序流程图
三、模型制作
大部分机身用激光切割加工的不同颜色亚克力板制作,通过有机玻璃胶,502和热溶胶制作。整体为三个大小不同的类长方体物组成(重量感应器、食盆、主机)。重量感应器、食盆较低,主机较高。食盆后壁有一长方形开口,供出料口对接,可单独拆卸,方便清洗。重量感应器通过连杆连接至主机。主机两侧延伸出梯形挡板与一快长方形板在末端固定&#